橡胶减振器分类有哪些?(首次采用以终端消费者角度对橡胶减震器进行分类)
- 2015-11-17 13:51:00
- 上海静音减振器有限公司 原创
- 5649
对于专业 橡胶减振器 厂商二院,橡胶减震器的分类显而易见,但对于橡胶减振器尤其是非业内人、首次购买橡胶减振器或橡胶减振器 0-3 个月的采购买手而言,其对橡胶减振器分类和专业厂商分类的维度、称谓差异悬殊。下面笔者就精选终端消费者比较常用的橡胶减振器称谓(分类标准和维度多种多样)以膳广大读者:
第一 . 按照用途分为:汽车橡胶减振器、风机橡胶减振器、车用橡胶减振器、水泵橡胶减振器、
橡胶减振器液压机、橡胶吊架减振器等。
第二 . 按照采购区域分为:青浦橡胶减振器、上海橡胶减振器、靖江橡胶减振器、广西橡胶减振器等。
第三 . 按照不同技术编号分为: sd 型橡胶减振器、 jg 型橡胶减振器、 jsd 型复合橡胶减振器、 jsd 型橡胶减振器、 jsd 型低频复合橡胶减振器、 jsd 橡胶减振器、 jndd 型橡胶减振器、 jc 橡胶减振器、 jsd 橡胶减振器、 yzt 型橡胶减振器、 mr 橡胶减振器、 cj 型橡胶减振器等。
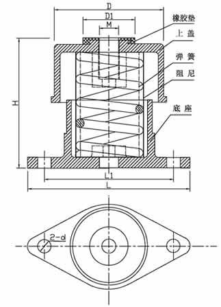
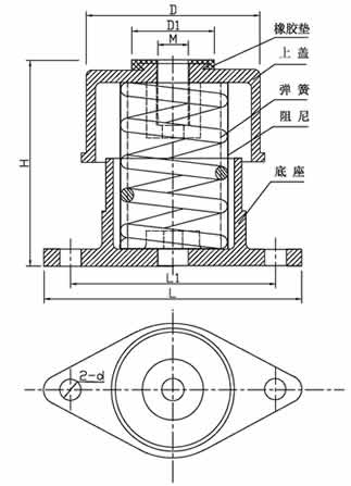
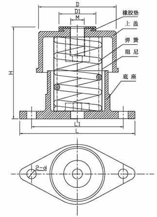
第四 . 按照不同材质分为:阻尼橡胶减振器、低频复合橡胶减振器、橡胶弹簧减振器、金属橡胶减振器等。
第五 . 按照功能分为:橡胶剪切减振器、橡胶扭转减振器等。
本文版权归上海静音减振器有限公司所有,欢迎转载,转载请注明作者和出处
作者:上海静音减振器有限公司
扩展阅读:
橡胶减振器 橡胶接头 不锈钢波纹补偿器 橡胶软接头 弹簧减振器 上海噪音治理
相关信息:
橡胶软接头 不锈钢波纹补偿器 橡胶接头 弹簧 减振器 不锈钢波纹补偿器 橡胶减振器 不锈钢波纹补偿器 上海噪音治理 不锈钢波纹补偿器
| 电话: | 15000400600 |
|---|---|
| Email: | shjingyin@163.com |
| 地址: | 上海市青浦区金泽镇商周路148号 |
| 了解我们 | 新闻资讯 | 产品中心 | 安装实例 | 选型手册及软件下载 | 服务与承诺 | 联系我们 |
|
|
|
|
|
扫描上面二维码或添加微信号“ chinanvc”
|


